



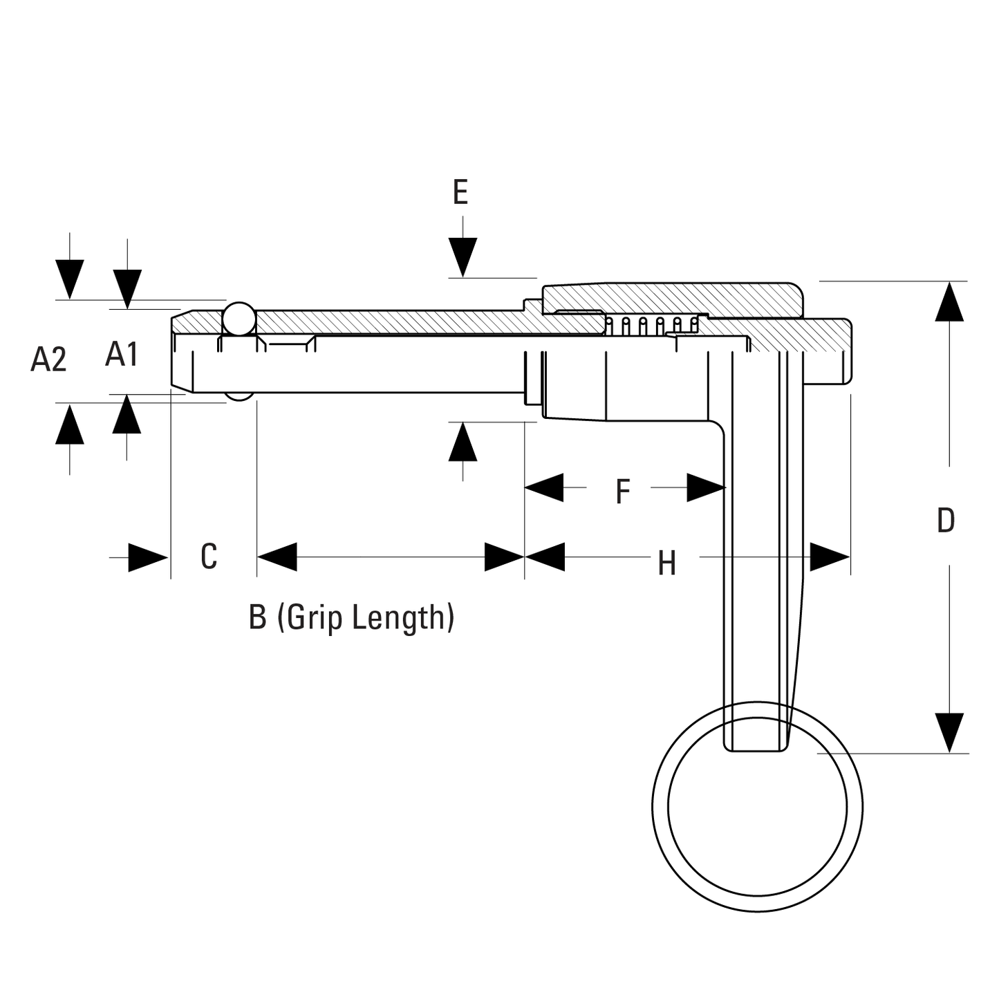
T-Handle
Part No. | A1 Pin Dia. -.003/-.0015 | A2 Balls Out Dia. ±.005 | B Grip Length +.02/-.00 | C +.000/-.030 | D | E | F | H |
---|---|---|---|---|---|---|---|---|
862121 | 1/4 | 0.289 | 1 | 0.290 | 1.81 | 0.47 | 0.77 | 1.23 |
862122 | 1/4 | 0.289 | 2 | 0.290 | 1.81 | 0.47 | 0.77 | 1.23 |
862123 | 1/4 | 0.289 | 3 | 0.290 | 1.81 | 0.47 | 0.77 | 1.23 |
862131 | 5/16 | 0.375 | 1 | 0.330 | 1.81 | 0.47 | 0.77 | 1.23 |
862132 | 5/16 | 0.375 | 2 | 0.330 | 1.81 | 0.47 | 0.77 | 1.23 |
862133 | 5/16 | 0.375 | 3 | 0.330 | 1.81 | 0.47 | 0.77 | 1.23 |
862141 | 3/8 | 0.440 | 1 | 0.365 | 2.00 | 0.56 | 0.88 | 1.38 |
862142 | 3/8 | 0.440 | 2 | 0.365 | 2.00 | 0.56 | 0.88 | 1.38 |
862143 | 3/8 | 0.440 | 3 | 0.365 | 2.00 | 0.56 | 0.88 | 1.38 |
862151 | 1/2 | 0.594 | 1 | 0.460 | 2.25 | 0.72 | 0.94 | 1.60 |
862152 | 1/2 | 0.594 | 2 | 0.460 | 2.25 | 0.72 | 0.94 | 1.60 |
862153 | 1/2 | 0.594 | 3 | 0.460 | 2.25 | 0.72 | 0.94 | 1.60 |
L-Handle
Part No. | A1 Pin Dia. -.003/-.0015 | A2 Balls Out Dia. ±.005 | B Grip Length +.02/-.00 | C +.000/-.030 | D | E | F | H |
---|---|---|---|---|---|---|---|---|
862221 | 1/4 | 0.290 | 1 | 0.290 | 1.75 | 0.5 | 0.75 | 1.25 |
862222 | 1/4 | 0.290 | 2 | 0.290 | 1.75 | 0.5 | 0.75 | 1.25 |
862223 | 1/4 | 0.290 | 3 | 0.290 | 1.75 | 0.5 | 0.75 | 1.25 |
862231 | 5/16 | 0.380 | 1 | 0.330 | 1.75 | 0.5 | 0.75 | 1.25 |
862232 | 5/16 | 0.380 | 2 | 0.330 | 1.75 | 0.5 | 0.75 | 1.25 |
862233 | 5/16 | 0.380 | 3 | 0.330 | 1.75 | 0.5 | 0.75 | 1.25 |
862241 | 3/8 | 0.440 | 1 | 0.370 | 2.00 | 0.59 | 0.94 | 1.44 |
862242 | 3/8 | 0.440 | 2 | 0.370 | 2.00 | 0.59 | 0.94 | 1.44 |
862243 | 3/8 | 0.440 | 3 | 0.370 | 2.00 | 0.59 | 0.94 | 1.44 |
862251 | 1/2 | 0.590 | 1 | 0.460 | 2.25 | 0.75 | 1.00 | 1.63 |
862252 | 1/2 | 0.590 | 2 | 0.460 | 2.25 | 0.75 | 1.00 | 1.63 |
862253 | 1/2 | 0.590 | 3 | 0.460 | 2.25 | 0.75 | 1.00 | 1.63 |
-
Flat Rate Shipping
$10 flat ship rates to lower 48 US states. Products cannot be shipped to international destinations.
-
Get Help
Get in touch with us at sales@stronghandtools.com